其他染色设备——散纤维染色机
城南二哥2021-03-12 11:17:13阻燃资讯中心762来源:阻燃布料_阻燃面料网
此类上色设备适用于毛纺织染整厂对散毛或其他散纤维的上色。 1.NC464B型散毛上色机 如图7-12所示,上色机上色时,先将洗净的散毛均匀地装入散毛桶内,装满后将散毛桶吊入染槽中,压紧顶盖,开动循环泵,染液由散毛桶的多孔芯轴喷出,通过纤维层,再归到循环泵。 上色的温度与时间按升温工艺曲线操纵,染毕放去残液,注入清水,循环洗净纤维上的浮色,然后吊起散毛桶,取出纤维。该机每次可染羊毛100kg。

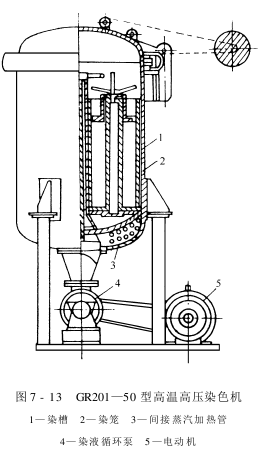
2.GR201—50型高温高压上色机 如图7-13所示,高温高压上色机主要用于染聚酯纤维散纤维、聚酯纤维毛球及聚酯纤维绞纱。聚酯纤维普通在130℃左右进行上色。在此温度下上色,其匀染性与上染率都比较理想。GR201—50型高温高压上色机有3个染笼,可装散纤维100kg或绞纱50kg。上色时,将纤维装入染笼,装满后用吊车将染笼吊入染槽中,盖好密封盖,开动循环泵使染液循环,升温上色,染毕放去残液,注入清水清洗纤维,开启顶盖,吊出染笼,取出纤维。


发表评论