阻燃资讯中心 第3183页
-
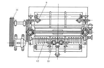
绳状水洗机——紧式绳洗机
绳状水洗机是专供绳状布料清洗用的,也可用作绳状面料浸轧退浆剂、煮练剂、漂白剂等化学品溶液的设备使用。因此,它是组成绳状练漂联合机的重要单元机台。根据布料运行的张力情况,可将其分为紧式绳洗机与松式绳洗机两种。 一、紧式绳洗机 紧式绳洗机是将双头绳状布料处于经向拉紧状态下进行清洗的。绳状布料分离从左右两端进入导布瓷圈,绕过轧槽的后、前两根导布辊,进入大轧辊轧点,并由分布棒按清洗道数分开,继续归绕在导布辊和大轧辊上浸轧,普通要浸轧6~11道(即绳状布料归绕6~11圈),后双头绳状布料在大轧辊中部经喷洗后进入上轧液辊轧...
-
净洗机的作用及分类
净洗机的作用及分类 印染工业中以水为介质的湿处理在生产工艺中起着重要作用,在印染加工过程中,为了除去面料在练漂、上色、印花及树脂后整理等加工过程中的表面浮色、多余染料、浆料、分解物及其他污物,必须使用净洗机进行净洗。清洗效果的好坏,直接影响着印染产品的质量,故清洗是印染生产中的重要加工工序之一。净洗机也是重要的单元机之一。 被清洗面料中的污物杂质,大体可分为可溶性污物及不溶性污物两大类。在普通情况下,以水作为清洗介质,除去面料中的污物。对可溶性污物,通过洗液的交换与溶质扩散,即可把它除去。若可溶性污物和布料纤维发...
-
浸轧机的选择使用及保养——平幅浸轧机的使用和维护注意事项
1.预防轧液辊左右加压不匀 为预防轧液辊左右加压不匀,应小心下列各点: (1)重锤杠杆加压的,其杠杆、连杆的各连接销钉应圆滑无锈。好采纳不锈钢销钉,并常常加油,调整两端的重锤,使两端压力均匀。 (2)油泵加压与压缩空气加压时,加压流体的总管分向两油缸或两气缸的左、右两根管应对称,并常常检查加压系统是否漏油或漏气。 (3)小心检查轧辊组轧辊轴线的平行度与传动齿轮的磨损程度。 (4)车磨橡胶轧液辊时,轴向辊径必须按要求加工。使用中,小心检查辊面磨损情况。 2.安装、维修与使用小心事项 为了延长橡胶轧辊的使用寿命,在安...
-
浸轧机的选择使用及保养——选择平幅浸轧机的般要求
(1)对轧余率并不要求太低,但在满足所需要的轧余率的同时,必须获得均匀的轧液效果。 (2)轧液辊的直径不宜太小,以免增添挠度,产生轧液不匀现象。 (3)橡胶轧液辊辊面硬度不宜太高,两辊轧点的接触宽度宜大些。但应小心,若两根轧液辊辊面硬度较低,常会使轻薄布料受轧时产生波纹。其它,轧余率增高后,面料表面上纺纱线粗结处会产生色点。 (4)组成轧液辊组的两根轧液辊辊面硬度相差不能过大,以免造成布料色泽阴阳面与一面发毛的现象。 (5)必须保持肯定的浸渍时间,普通要求二浸二轧,以达到轧液均匀。 此外,还必须根据面料的结构特点...
-
新型轧车
为了提高轧液均匀度,各国印染机械创造厂家都致力于研制新型轧辊,尤其是德国与日本,在这方面已取得了很大的发展。 图3-23所示的是德国Artos公司研制的Artos轧辊。其下轧辊是一般轧辊,上轧辊即所谓Artos辊,是一种两端加压的中固轧辊。在中固轧辊的辊体与辊轴两端,设置了8个加压点。通过调节这8个压力参数,来调节轧辊的压力与挠度,能达到提高轧液均匀度的效果。这种轧辊在宽幅轧车上使用效果也较好。但其结构复杂,操作与维修都比较麻烦。 图3-24所示的P.F.轧辊,是由日本创造的。上、下轧辊为同一结构。一对中固轧辊...
-
轧液机——提高轧液均匀度的方法
影响轧液均匀度的因素很多,如轧压压力、轧辊表面硬度以及轧辊刚度等。而轧辊的刚度,则是影响轧液均匀度的主要结构因素。因此,提高轧辊刚度是提高轧液均匀度的根本措施。但是,这又会引起整个轧车结构的笨重,增添能量的消耗与搬运安装的困难。从轧辊结构考虑,在不过分增大其截面的前提下,完可能减少轧辊的挠度,以提高轧液均匀度,是优化轧辊设计的重要课题之一。目前常采纳的有中高轧辊、中支轧辊与中固轧辊等。 由于一般轧辊两端受集中载荷,辊体受均布载荷,易产生弯曲变形。这种弯曲变形,使轧辊间的线压力形成中间小两端大的分布,造成轧液不匀...
-
轧液机——作用及轧液均匀性
轧液机用于浸轧各种化学液体或染液,使它们在肯定的轧余率下均匀分布于面料内。因此,对浸轧的要求比较高。布料经向的浸轧均匀度主要依赖浸轧工艺参数的稳定性,因此,要求在浸轧过程中,各种工艺参数以及轧车的工作状态都非常稳定。但布料纬向的均匀度,则主要和轧车,即和轧辊的结构有关。 面料纬向的轧液均匀度(以下简称轧液均匀度),用布料同一纬向上各点轧余率的相对误差来表示。在实际生产中,可以通过测定布料左、中、右三处轧点的轧余率加以比较。普通轧液均匀度应小于2%,如在2%~5%之间,可调整工艺条件予以弥补。但是,如轧液均匀度大于...
-
轧水机——几种常用轧水设备
1.小直径轧辊 为了提高轧水效率,取得较低的轧余率,可通过减小轧辊直径来获得。在同样的压力下,较小直径的轧辊,可以获得较大的线压力与轧点压强。但是,小直径轧辊的刚度也小,易造成轧液的不均匀。在三辊轧车中,可采纳小轧辊配在中间的形式加以克服。在两辊轧车中,则可通过改进加压方式加以克服。 2.气袋均布加压式轧车 图3-12所示是气袋均布加压式轧车示意图。轧车顶部有一只气袋。当压缩空气进入气袋后,迫使气袋向下膨胀,通过双排支承座及多个小压力辊,使小直径的上轧辊加压。这种轧车的轧余率可比普通轧车降低20%左右。而且,轧...
-
轧水机——轧压压力
轧水机的总压力是指轧水机通过加压机构对轧辊施加的所有压力。在机台与加工面料相同的条件下,总压力在很大程度上直接影响轧余率。 轧辊轧点处单位长度上所受的压力,称为线压力。它和总压力的关系为: AAASDFWFWFWE...
-
轧车——轧液槽
轧液槽是浸轧机的主要组成部分之一,它根据面料加工的工艺要求及操作等情况不同,其结构形状与要求也各不相同。 在以浸透为主要要求的情况下,则需适当增添布料在处理液中的浸渍时间。因此,要求轧液槽的容积较大,且在槽内罗列多根导布辊,以增添浸渍时间,如丝光机的轧液槽,见图3-8(a)。但在某种情况下,如浸轧染料溶液时,既要求有较好的浸透程度与必要的浸渍时间,又要求轧液槽容量小,有利于槽内染液的更新与减少残液量,则通常采纳图3-8(b)所示的轧液槽来解决。 近年来,还有采纳如图3-8(c)所示的轧液槽,其特点是布料在槽内溶...






