阻燃面料技术 第380页
-
毛织物湿整理设备-洗呢机
洗呢机的作用是用清洗液洗去毛布料上的油剂与污物,使之干净,获得柔软、饱满的手感,保证上色等后续加工的顺利进行。面料在洗呢过程中受到不断的挤压与休闲,因而也具有肯定的缩呢作用。 常用洗呢机有绳状、平幅洗呢机两种,图11-1与图11-2所示分离为绳状洗呢机与平幅洗呢机。 11绳状洗呢机 绳状洗呢机是目前使用较为普遍的一种洗呢设备,属间歇式洗呢机。主要由洗槽、轧辊、导布辊、分呢框与污水斗等几部分组成。洗槽由不锈钢制成,用于贮存洗液与呢坯。有上、下两只轧辊,上辊为被动辊,下辊为主动辊。布料在经过两轧辊之间的轧点时受...
-
丝织物机械整理设备-砂洗整理设备
真丝绸砂洗是一项新兴的后处理技术。砂洗是布料处于松弛状态下使用化学助剂使丝素膨化而疏松,再借助机械作用使布料和布料、布料和机械之间产生轻微的均匀摩擦,使丝素外层包履着的微纤蓬松而挺起,产生出细密绒毛,从而使布料手感松软、柔顺、胖厚、光泽轻柔,悬垂性及抗皱性能大大提高。有的也称之为桃皮绒磨毛后整理。 砂洗设备包含用来进行膨化、砂洗与柔软处理的设备,各厂不一。有绳状水洗机、溢流喷射上色机、转鼓式水洗机以及专用砂洗机等。采纳较普遍的是工业用洗衣机。脱水可用离心式脱水机。烘干大多采纳转笼式烘干机,它是利用蒸汽或电加热散...
-
丝织物机械整理设备-机械柔软整理设备
真丝面料机械柔软后整理的办法较多,可在单辊筒后整理机上轻轧或在拉幅机上轻微拉幅,也可用专用的机械柔软后整理机,如图10-32所示。 柔软后整理机的主要结构为上、下两排搓绸辊,普通上排8根,下排9根。搓绸辊有两种类型:一种是在不锈钢导辊表面安上直径为10mm的半球形凸球;另一种是用尼龙塑料注压件制成表面有直径14mm半球的导辊。布料在上下排搓绸辊之间穿过,达到搓揉的作用。上下两排搓绸辊均为被动驱动,下排搓绸辊在液压装置的驱动下可升降。柔软后整理的效果取决于布料通过搓绸辊时的升降幅度与搓绸次数,普通经过3~4次往复...
-
丝织物机械整理设备-烘燥设备
面料脱水后,仍存在有被纤维吸附的结合水,必须通过烘干,用热能汽化的办法加以消除。 染整生产过程中所用的烘干设备,可分为烘筒烘干机、热风烘干机与红外线烘干机三种。真丝布料比较柔嫩,不能承受过大的张力,烘燥不宜过急、过度。目前丝绸染整厂常用烘筒烘干机与热风烘干机两类。 (1)辊筒后整理机:单辊筒后整理机属于接触式烘燥机,由机架、烘筒、伸缩扩幅辊与传动装置等组成,如图10-26所示。 该机主要是借一只铁制或不锈钢制辊筒,内通蒸汽加热来烘干布料。烘筒蒸汽压力为0.20~0.30MPa,车速为25m/min。布料打成...
-
丝织物机械整理设备-脱水设备
丝绸的后整理包含后整理、装潢及成品检验。后整理工艺可按效果与办法分类。按办法不同,后整理有机械法、化学法、机械—化学联合法之分;按效果不同后整理有临时性与永久性之分。丝布料的普通机械后整理主要是指脱水、烘干、拉幅(定幅)、预缩后整理等。 布料经过后整理后,即进入检装(检验、装潢)工序,包含量绸、验绸、定等、打印、贴商标、包装及打包等。 一、丝面料机械后整理设备 11脱水设备 丝绸印染厂脱水、烘干设备的选择和布料品种关系紧密。烘干工艺对丝织品的手感、光泽都有较大的影响,且烘干往往和熨烫、柔软等同时进行,一机...
-
印花设备-水洗设备
11绳状水洗机 绳状水洗机下方普通为一水槽,容积由容绸量确定,传动为椭圆形导辊,木制、铁制或不锈钢制,槽中另装有小导辊、分绸架、挡板等,面料呈绳状由椭圆导辊带入水浴中,在水中做适当的浸泡,再由椭圆盘带出,反复循环。穿绸方式有两种:一种是间歇式,即每匹绸圈成一档自成循环,每台水洗机可有10匹、20匹同时水洗,以时间计算,洗尽一个过程,换水再洗。另一种形式是延续循环式,国外较多采纳,机上有一螺旋形不锈钢挡绸装置,水洗时绸匹延续循环前进,后由六角盘导出。 绳状水洗机设备容易,工艺安排灵便,水洗不受时间限制,张力小,...
-
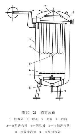
印花设备-蒸化设备
丝布料印花的主要设备有筛网印花设备、蒸化设备与水洗设备。筛网印花设备参阅第八章有关章节内容。 一、蒸化设备 丝布料印花后,在印花机上已经过烘燥,但后还必须经过蒸化,使染料及各种化学助剂在肯定温度、湿度、压力下发生作用,使染料和纤维发生固着作用。蒸化设备有间歇式和延续式两种。 11圆筒蒸箱 圆筒蒸箱是丝布料印花常用的一种间歇式蒸化设备,主要由外筒、内筒、夹层蒸汽管、筒底层直接蒸汽管、挂绸架、顶盖等组成,结构如图10-21所示。 圆筒蒸箱普通为站式,外筒直径普通为1800~2000mm,外筒和内筒之间形成一...
-
染色设备-SDF丝绸溢流染色机
SDF丝绸溢流上色机由染槽、导绸辊、加料桶、热交换器、过滤器、进出绸架与各种管路组成。结构如图10-20所示。当面料进入染槽后,由水流带动布料平滑向前挪移。每条上色管配有两条自立导绸管道分隔绸匹,保证布料在佳状态下挪移,并使布料在染槽的任何部位均能和染液接触或浸于染液中,由于染槽是相通的,故上色均匀。 该机采纳一个位置可沿垂直方向上下调整的大直径导绸辊提升面料。导绸辊的可调距离为80mm,普通来说,当染较轻薄的面料时,可将导绸辊调整得离染槽液位近一些,这样布料所受到的提升力较小。而当被染布料较厚时,则可将导绸辊...
-
染色设备-星形架染色机和方形架染色机
目前,蚕丝上色多为面料上色或绞丝上色,以面料上色为主。丝布料的品种繁多,各品种又有自己的组织特点。有的厚重,有的轻薄;有的是提花面料,有的是平素布料,也有的是绉布料。 真丝面料选用何种设备上色可得佳效果,要视布料的组织规格、批量、色泽深浅以及上色工艺等条件而定。总的来说,真丝布料比较轻薄,质地柔嫩,所以宜采纳松式、少摩擦的设备为佳。 目前,真丝布料上色的设备,主要有星形架上色机与方形架上色机及SDF丝绸溢流上色机。 一、星形架上色机与方形架上色机 11星形架上色机 星形架上色机,是目前国内外仍采纳较多的...
-
前处理设备——涤纶仿真丝前处理设备-连续式碱减量机
延续式碱减量机主要故意大利的Debaca、日本小野森的M型、荷兰Brugman的Holland。 其基本组成有浸轧机、汽蒸箱、水洗机等,如图10-16所示。 该机为平幅延续式碱减量机的一种,高速度为60m/min,蒸箱温度为120℃。 (1)浸轧机:浸轧机的浸液槽呈双层密闭型结构,可获得稳定的温度,液槽浴比小,布料通过多根导布辊增添浸渍时间。二辊站式小轧车大线压力为200N/㎝,适合小批量、多品种生产,碱液归收快。 (2)汽蒸箱:汽蒸箱为导辊式,可在高温常压状态下使用,气流是由上部吹出、下部吸入的自然对流...







